歡迎新居民的“紅毯”——荷蘭wittenburg街區設計
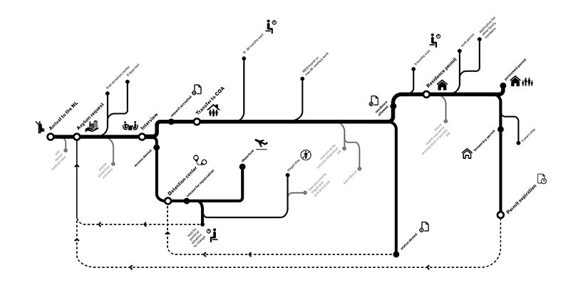
最近全球移民潮在荷蘭阿姆斯特丹和其他地區掀起激烈辯論。移民涵蓋了各個年齡層段和各個領域——遷徙者、流動人員、難民、定居者、短暫停留者等等。對移民問題持有開放的態度,對移民者和阿姆斯特丹來說是雙贏。目前的政策,如果想在荷蘭尋求庇護,就要經過漫長的等待,有時會長達兩年。在此期間,申請人沒有工作保障,無法與社會接觸融入。繁復的官方程序使有意來阿姆斯特丹的人失去很多工作機會,但迅速發展的阿姆斯特丹又需要各路英杰的支持。

現有計劃適合互動 - wittenberg鳥瞰圖
針對這個問題,荷蘭FABRICations建筑事務所、LADA建筑事務所和來自Failed Architecture的rené boer通力合作,通過實驗性政策和探索新設計,打造出一個可以為移民之間提供互動交流的,并可以推動他們與當地居民互動的特色區域。但如何界定"開放城市"? 什么資源可以使這些移民成為一個充滿活力的城市階級?又將如何設計使城市吸收接受這些移民同時又不把他們作為阿姆斯特丹城市開發的工具?作為2017年國際社會住房盛會的一部分,這項研究以阿姆斯特丹的wittenburg地區為例進行探討,將新興社會住宅、工作類型與現有的公共建筑、參與者與代理之間進行融合。

變革的踐行者 - wittenberg鳥瞰圖
經過研究探索,決定在這個區域內,難民可擁有特殊的法律許可,他們可以參與到城市經濟社會發展中。并且新的社會空間因素將會促進現有的社會組織發展,新增50%的工作崗位和生活空間。另外,升級空間架構,新住戶填補原有的空白,激發城市間的互動交流,促進共同生活。基本架構的形成為之后的填充奠定了基礎,隨著時間的推移,整個空間將豐盈起來。所有的框架的基本特征和材料都相同,都可以積極參與到社會活動當中。

城市概念圖 - 2021年wittenburg街景
Wittenburg在政治上得到支持,建筑實施也日益完善,它勢將成為歡迎新居民的獨特"紅毯"。沒有被整個城市排除在外,而是作為開放的區域融入到城市當中。獨立建造的大樓,新的社會政策都促使著更集約、共享的住房工作環境的產生。公司、大學和各個機構都為給尋求庇護的人提供了工作機會,使他們可以發揮自己的才華,使他們充實自己的同時也可以更好地服務于社會。

城市概念圖 - 2021年wittenburg街景

建筑碼頭 - 自建材料回收和分配的產品設施

修道院花園 - 多層禱告室

學習室 - 與學校的整合

庇護者在荷蘭請求幫助的流程

總平面圖